Sunroof Frame Bolt - Ford (W709933-S307)

2011-2025 Ford - w709933s307

Sunroof Frame Bolt - Ford (W709933-S307)

2011-2025 Ford - w709933s307

Ford, Lincoln, Mercury Parts
Lincoln Parts Mercury Parts
  • Ford
  • W709933-S307

Details

  • Brand:

    Ford, Lincoln, Mercury Parts
    Lincoln Parts Mercury Parts

  • SKU:

    W709933-S307

  • Other Names:

    Insert Panel Bolt, Front Reinforced Bolt, Front Support Bolt, Upper Bracket Bolt, Bracket Bolt, Impact Bar Bolt, Sunroof Reinforcement Bolt, Front Bracket Bolt, Lower Impact Bar Bolt, Headliner Bolt, Bolt Hex.Head

  • Description:

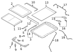
    122.5 wheelbase. With panoramic. Crew cab. Insert panel,bolt. 131.6 wheelbase. Without appearance package. 2011-13. Super cab with sunroof. 2014-19, with st, st-line. Regular cab headliner & visors.

  • Sale Price: $5.00
Manufacturer Warranty Minimum of 12 Months
Guaranteed Fitment Always the correct parts
Shop with Confidence Your information is safe
In-House Experts We know our products
Ford, Lincoln, Mercury Parts
Lincoln Parts Mercury Parts
  • Ford
  • W709933-S307

Details

  • Brand:

    Ford, Lincoln, Mercury Parts
    Lincoln Parts Mercury Parts

  • SKU:

    W709933-S307

  • Other Names:

    Insert Panel Bolt, Front Reinforced Bolt, Front Support Bolt, Upper Bracket Bolt, Bracket Bolt, Impact Bar Bolt, Sunroof Reinforcement Bolt, Front Bracket Bolt, Lower Impact Bar Bolt, Headliner Bolt, Bolt Hex.Head

  • Description:

    122.5 wheelbase. With panoramic. Crew cab. Insert panel,bolt. 131.6 wheelbase. Without appearance package. 2011-13. Super cab with sunroof. 2014-19, with st, st-line. Regular cab headliner & visors.

Vehicle Fitment

Vehicle Fitment
Year Make Model Body & Trim Engine & Transmission
( more fitments)
No fitment data available

Ford

When you buy your Sunroof Frame Bolt (w709933s307) from Lincoln Parts Outlet you will receive a genuine OEM part. OEM is better because it means your Sunroof Frame Bolt will be specifically designed to fit your 2011-2025 vehicle. Just enter your VIN during checkout so we can make sure your parts fit your vehicle and we will ship your order right to your door in a matter of days.

You can select your Lincoln model to shop its entire OEM parts catalog. We also carry parts and accessories for Ford models and Mercury models.